服务热线:
0518-85217530

XEW型旋转反冲洗强排污二次滤网(循环冷却水二次过滤净化装置)

简要描述:一、循环冷却水系统强排污二次滤网概述:二次滤网系统是净化水中污物、保持凝汽器水室经常处于清洁状态,保证胶球正常投运,是提高胶球回收率、凝汽器冷凝效果,不可缺少的装置.因我国环境污染较为严重,江河、湖泊等水质污染尤为突出.因此,目前冷却水开式循环系统中较为普遍使用的固定式滤网,已经显示出它的不足.我公...

  • 更新时间:2024-03-23 10:35:00
  • 访  问  量:255
详细介绍

一、循环冷却水系统强排污二次滤网概述:

   二次滤网系统是净化水中污物、保持凝汽器水室经常处于清洁状态,保证胶球正常投运,是提高胶球回收率、凝汽器冷凝效果,不可缺少的装置.因我国环境污染较为严重,江河、湖泊等水质污染尤为突出.因此,目前冷却水开式循环系统中较为普遍使用的固定式滤网,已经显示出它的不足.我公司是生产电厂电站辅助机械设备定点厂,通过近几年来不断征求广大用户意见和对二次滤网的反复试制及不断改进,保留老产品部分结构,增加了电动装置,使二次滤网结构和使用性得到更加完善,并广泛应用于冷却水闭式循环及开式循环系统中。


二、旋转反冲洗强排污二次滤网特点:

    目前各电厂(站)凝汽器循环水系统中较为普通作用的固定式和旋转式两种二次滤网,通过这么多年来运行实践证明,主要存在以下几点问题:
   1、固定式的缺点:网芯固定不能旋转,清理污物效果差,网孔极易堵塞,清理要等待停机.
   2、旋转式的缺点:网芯旋转、清洗时靠负压反冲,该滤网清污能力较固定式强,但是当洪峰季节或水污染较严重时,以及水中含塑料薄膜、杂草等粘附力较强的污物时,清洗效果仍不理想,如遇排污室乔板磨损严重时,清污效果更差,结构上也存在较大缺点:
   (1)驱动网芯的一对大小齿轮常年在含泥沙等杂质的水中运行、极易磨损和腐蚀,严重影响机组安全和经运行.  (2)传动控制系统为复杂,一般由控制电磁阀、 油泵、油箱、油缸、油路控制,操作箱等组成,运行之中最容易发生漏油、控制失灵现象.  (3)维护、检修工作量大.
   针对上述二次滤网存大的缺点,我厂通过调查研究和反复试制设计成旋转反冲洗强排污二次滤网,是目前使用性能最佳二次滤网,它具有以下特点:
   1、网芯驱动齿轮与循环水隔绝,润滑系统采用全封闭形式,齿轮不再受泥沙、水等介质磨损和侵蚀.
   2、消除了老式滤网存大的传动系统复杂易产生故障的缺点,运行安全可靠,检修维护方便.
   3、可以清除粘附力较强的杂物,使二次滤网使用性能更进一步提高.


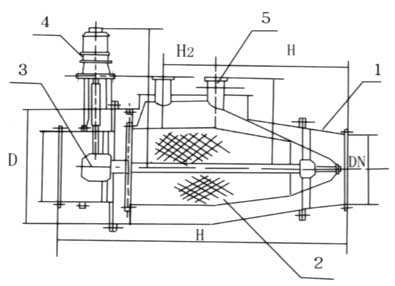
三、旋转反冲洗强排污二次滤网结构形式和工作原理:

(1)壳体
(2)不锈钢网芯
(3)传动机构
(4)减速机
(5)排污阀等


电动旋转反冲洗强排污二次滤网

   工作原理:经过拦污栅和一次滤网过滤的循环水中仍含有不少悬浮物和泥沙等杂质,经过循环水泵进入二次滤网再过滤,当水中悬浮物和泥沙等杂质在滤网处附到一定数量时,滤网的内外水压差增大到控制系统规定数值时(一般为500mmH2O柱),控制系统运行、排污机构投入工作,将附着物排出二次滤网,待内外压差恢复到正常滤网运行时(一般≤400mmH2O柱)控制机构关闭.循环往复,从而完成过滤排污工作过程.


四、旋转反冲洗二次滤网主要技术参数:

    ◆ 公称通径:DN400~DN2200mm
    ◆ 网  孔:Ø7.5~9mm
    ◆ 水  阻:≤400mmH2O柱
    ◆ 外形尺寸:可根据用户需求(需保证通流量前提下)
    ◆ 网芯转速:10转/min(可调)
    ◆ 控制方式:手动及电动



、胶球清洗装置系统组成及简要说明:

    SD型、SL型、SF型收球网,GEW型、XEW型二次滤网,ZQS型装球室,JQ型胶球泵,FH型分汇器,阀门管路及电器控制装置构成.


留言框

  • 您的姓名:

  • 联系电话:

  • 常用邮箱:

  • 留言内容:

在线咨询 联系方式 二维码

服务热线

0518-85217530

扫一扫,关注我们